型号:LD090-05D09-3K
| 概览 | |
||
| 型号 | LD090-05D09-3K | 制造商 | BestJob |
| 所属系列 | LD | 产品类别 | 直流到直流电源(DC/DC) |
| 功能描述 | 免费注册 或 登录 查看说明 | ||
| 详细参数 | |||
| 型号 | LD090-05D09-3K | 稳压输出 | REGULATED |
| 输出功率 | 9W | 短路保护 | CONTINUOUS |
| 输入电压 | 4.7-7.25VDC | 温度范围 | -25°Cto 71°C |
| 输出电压 | ±9VDC | 效率 | 79 % |
| 封装 | 2*1 | 是否进口 | 否 |
| 封装尺寸 | 50.8*25.4*11.27mm | 认证 | RoHS,CE |
| 最大输出电流 | /-500mA | 品质等级 | High quality |
| 隔离电压 | 3000 VDC | 外壳材料 | plastics |
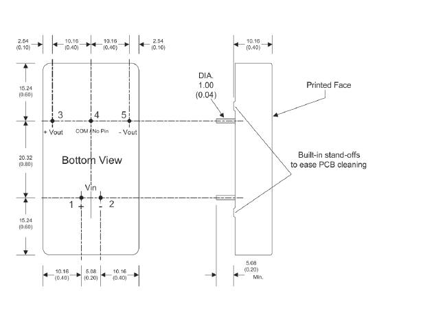
| 引脚排列图 | 查看 | ||
查看制造商BestJob的系列LD更多型号电源
查看其它制造商相似的
直流到直流(DC/DC)




